本实用新型涉及一种消防用供水装置,特别涉及一种消防泵。

背景技术:
消防泵具有全密封、无泄漏、耐腐蚀等特点,广泛用于环保、水处理、消防等部门用来抽送各种液体,适用于中小城镇,工矿码头,仓库和农村,扑救一般固体物质火灾及小规模油类火灾。
传统大型的灭火器材无法通过道路狭窄或无道路,车辆无法到达的地区,因此需要一种便于搬运,并且能便捷移动至指定地点的消防泵,传统的手抬泵虽然能实现搬运,但是其搬运及移动困难而且使用时安全系数不高因此不适应现在的市场。
技术实现要素:
本实用新型提出一种消防泵,解决了现有技术中消防泵不易搬运及安全系数不高的问题。
本实用新型的技术方案是这样实现的:
一种消防泵,包括发电机、与该发电机同轴设置的发动机、设于发动机另一侧的主泵体及设于主泵体与发动机之间的离合器,该发动机的轴体与主泵体的泵轴均延伸至外界并相对设置,所述离合器包括可滑动设于发动机的轴体上的第一离合器片、设于主泵体的泵轴上的第二离合器片及设于第一离合器片外侧并可带动第一离合器片与第二离合器片相扣合或分离的操纵杆。
优选方案为,所述主泵体包括泵壳及设于该泵壳内的叶轮,该泵壳具有一吸水口、一第一出水口及一第二出水口,该第二出水口上设有阀体,该第一出水口上连接有管体,该管体的另一端与一副泵体的进水口相连接,该副泵体的出水口与发动机的水箱相连接。
优选方案为,所述第二出水口大于第一出水口。
优选方案为,所述副泵体的轴上设有一皮带轮,该发动机的轴体上设有另一皮带轮,该另一皮带轮与副泵体的皮带轮通过皮带相连接。
优选方案为,所述第一离合器片与第二离合器片之间的扣合方式可为啮合式、摩擦式或电磁式。
优选方案为,所述主泵体为涡轮式。
本实用新型的有益效果为:
本实用新型的消防泵安装及拆卸简单,方便搬运,其发电机还可在夜间作为照明的电源使用,实现一机多用。
附图说明
为了更清楚地说明本实用新型实施例或现有技术中的技术方案,下面将对实施例或现有技术描述中所需要使用的附图作简单地介绍,显而易见地,下面描述中的附图仅仅是本实用新型的一些实施例,对于本领域普通技术人员来讲,在不付出创造性劳动的前提下,还可以根据这些附图获得其他的附图。
图1为本实用新型消防泵的结构示意图。
图中:
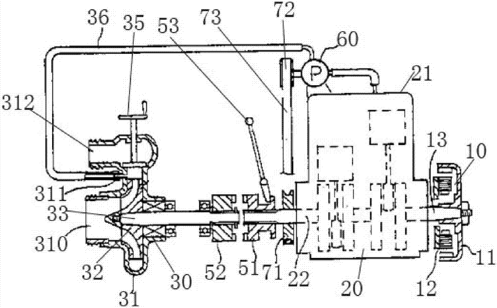
10、发电机;20、发动机;30、主泵体;50、离合器;11、机壳;12、定子线圈;13、转轴;21、壳体;22、轴体;31、泵壳;32、叶轮;33、泵轴;310、吸水口;311、第一出水口;312、第二出水口;35、阀体;36、管体;60、副泵体;71、72、皮带轮;73、皮带;51、第一离合器片;52、第二离合器片;53、操纵杆。
具体实施方式
下面将结合本实用新型实施例中的附图,对本实用新型实施例中的技术方案进行清楚、完整地描述,显然,所描述的实施例仅仅是本实用新型一部分实施例,而不是全部的实施例。基于本实用新型中的实施例,本领域普通技术人员在没有做出创造性劳动前提下所获得的所有其他实施例,都属于本实用新型保护的范围。
如图1所示,该消防泵包括发电机10、与该发电机10同轴设置的发动机20、设于发动机20另一侧的主泵体30及设于主泵体30与发动机20之间的离合器50。
该发电机10包括机壳11、设于机壳11内的定子线圈12及可转动设置的转轴13。本实施例中,该发电机10为一组。具体实施时,该发电机10也可为两组或多组。
该发动机20位于发电机10的一侧,其包括一壳体21及设于该壳体21内的轴体22,该轴体22与发电机10的转轴13相连接,并延伸至壳体21的外侧。
该主泵体30为涡轮式,其包括泵壳31、设于该泵壳31内的叶轮32及支撑叶轮32并可带动其旋转的泵轴33。该泵轴33由泵壳31内延伸至其外侧。该泵轴33于泵壳31外的端部与发动机20的轴体22于壳体31外的端部相对。该泵壳31具有一吸水口310、一第一出水口311及一第二出水口312,该第二出水口312大于第一出水口311。该第二出水口312上设有阀体35,可控制第二出水口312的开关。该第一出水口311上连接有管体36,该管体36的另一端与一副泵体60的进水口相连接,该副泵体60的出水口与发动机20的水箱相连接。该副泵体60的轴上设有一皮带轮71。该发动机20的轴体上设有另一皮带轮72,该另一皮带轮72与副泵体60的皮带轮71通过皮带73相连接。具体实施时,该副泵体60也可通过其他电源设备来驱动。
该离合器50包括可滑动设于发动机20的轴体22上的第一离合器片51、设于主泵体30的泵轴33上的第二离合器片52及设于第一离合器片51外侧并可带动第一离合器片51与第二离合器片52相扣合或分离的操纵杆53。该第一离合器片51与第二离合器片52之间的扣合方式可为啮合式、摩擦式或电磁式。
使用时,通过离合器50的操纵杆53使第一离合器片51与第二离合器片52相扣合,从而使发动机20的轴体22与主泵体30的泵轴33相连接,通过发动机20带动主泵体30运行,通过第二出水口312向外界供水进行消防。同时,通过发动机20的轴体22上的皮带轮71、72通过皮带73带动副泵体60的轴运动,进而带动副泵体60运动,使由第一出水口311流出的水供给发动机20的水箱23进行制冷。当主泵体30使用结束后,通过操纵杆53使第一离合器片51与第二离合器片52断开,从而使发动机20的轴体22与主泵体30的泵轴33相分离,阀体35使第二出水口312断开。
该消防泵安装及拆卸简单,方便搬运,其发电机还可在夜间作为照明的电源使用,实现一机多用。
以上所述仅为本实用新型的较佳实施例而已,并不用以限制本实用新型,凡在本实用新型的精神和原则之内,所作的任何修改、等同替换、改进等,均应包含在本实用新型的保护范围之内。
技术特征:
1.一种消防泵,其特征在于:包括发电机、与该发电机同轴设置的发动机、设于发动机另一侧的主泵体及设于主泵体与发动机之间的离合器,该发动机的轴体与主泵体的泵轴均延伸至外界并相对设置,所述离合器包括可滑动设于发动机的轴体上的第一离合器片、设于主泵体的泵轴上的第二离合器片及设于第一离合器片外侧并可带动第一离合器片与第二离合器片相扣合或分离的操纵杆。
2.如权利要求1所述的消防泵,其特征在于:所述主泵体包括泵壳及设于该泵壳内的叶轮,该泵壳具有一吸水口、一第一出水口及一第二出水口,该第二出水口上设有阀体,该第一出水口上连接有管体,该管体的另一端与一副泵体的进水口相连接,该副泵体的出水口与发动机的水箱相连接。
3.如权利要求2所述的消防泵,其特征在于:所述第二出水口大于第一出水口。
4.如权利要求2所述的消防泵,其特征在于:所述副泵体的轴上设有一皮带轮,该发动机的轴体上设有另一皮带轮,该另一皮带轮与副泵体的皮带轮通过皮带相连接。
5.如权利要求1所述的消防泵,其特征在于:所述第一离合器片与第二离合器片之间的扣合方式可为啮合式、摩擦式或电磁式。
6.如权利要求1所述的消防泵,其特征在于:所述主泵体为涡轮式。
技术总结
本实用新型提出了一种消防泵,包括发电机、与该发电机同轴设置的发动机、设于发动机另一侧的主泵体及设于主泵体与发动机之间的离合器,该发动机的轴体与主泵体的泵轴均延伸至外界并相对设置,所述离合器包括可滑动设于发动机的轴体上的第一离合器片、设于主泵体的泵轴上的第二离合器片及设于第一离合器片外侧并可带动第一离合器片与第二离合器片相扣合或分离的操纵杆。该消防泵安装及拆卸简单,方便搬运,其发电机还可在夜间作为照明的电源使用,实现一机多用。